Подшипник 680207

Подшипник 680207

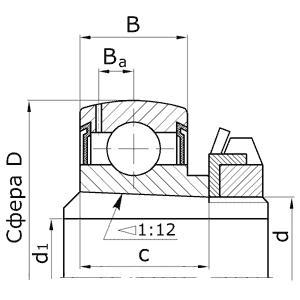
В комплект подшипника входит закрепительная втулка H308, или H308.

 

Направление воспринимаемых нагрузок – радиальное и осевое в обе стороны. Монтаж на валу удобен и прост.

 

Подшипник соответствует стандарту ГОСТ 24850-81.

Характеристики подшипника 680207
Параметр Обозначение Значение Единицы
Внутренний диаметр подшипника d 40 мм
Номинальный внутренний диаметр втулки d1 35 мм
Наружный диаметр подшипника D 80 мм
Ширина подшипника В 18 — 21 мм
Ширина внутреннего кольца подшипника c 23 мм
Расстояние от оси смазочного отверстия до середины дорожки качения Ba 6,2 мм

 

Похожие статьи
Если Вы читаете статью "Подшипник 680207", то Вас могут заинтересовать другие статьи, такие как- « », « » , кроме того, Вы всегда можете подписаться на нашу ленту новостей

Комментарии закрыты.